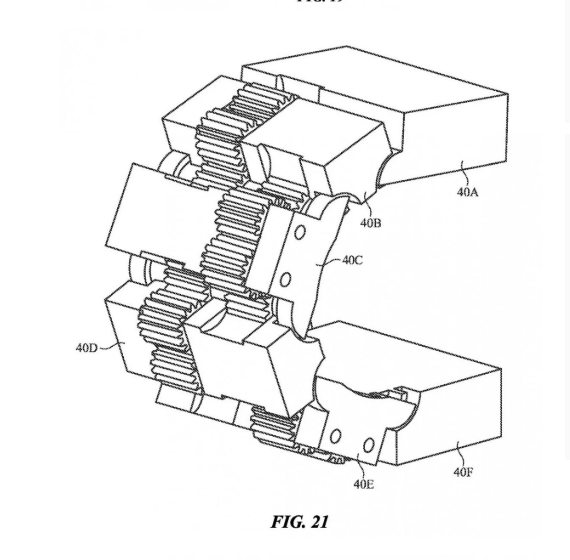
Компания Apple все еще только присматривается к рынку гибких смартфонов, но при этом продолжает готовить почву для выпуска своей модели такого устройства. Стало известно, что компания получила патент на конструкцию шарнира складного экрана, которая должна обеспечить устройству высокую гибкость и сохранять долгое время работоспособность. Патент описывает механизм синхронизации вращения корпуса, в котором используется набор шестерён для соединения двух частей корпуса. Согласно описанию патента, такой шарнир может применяться как в смартфонах, так и в других устройствах, например, в планшетах или даже в ноутбуках и умных часах. Конструкция механизма предполагает, что он будет обеспечивать плавное и стабильное складывание. Работает ли Apple над созданием гибкого смартфона или просто решила зарезервировать идею для создания подобных устройств в будущем — неизвестно.
